Implan buah dada dan punggung untuk wanita sudah wujud sejak 1960. Pembedahan ini membolehkan mereka yang tidak mempunyai dada yang menyebabkan sakit belakang yang kronik untuk mencari penyakit semata-mata untuk lebih menarik dipandang oleh lelaki mata keranjang.
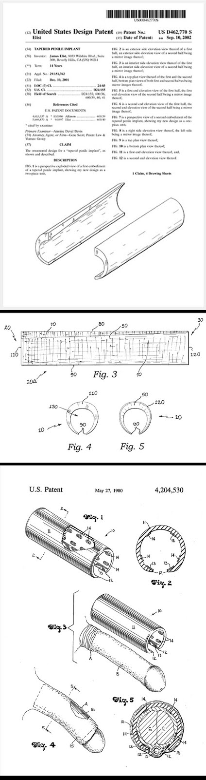
Kini dengan perkembangan teknologi pembedahan kosmetik, Implan silikon yang menambah ketabalan dan kepanjangan zikir bukan lagi satu perkara biasa. Ia dihasilkan oleh Dr James Elist yang berpangkalan di Beverly Hills, Amerika Syarikat. Implan rekaan beliau menambah ketebalan dan kepanjangan organ seksual lekaki sebanyak 2 inci secara kekal. Seperti implan buah dada, implan zakar ini diletakkan di bawah kulit dan tidak akan merosakkan saraf. Pembedahan hanya memakan masa 45 minit dan menelan belanja $13000 (RM 53000).


HimpunanCeritaLawak tidak bertanggungjawab terhadap komen yang diutarakan dalam laman ini. Segala risiko akibat komen yang disiarkan menjadi tanggungjawab pemilik akaun sendiri